利用熔體泵的增壓和計量特性將它與單螺桿擠出機串聯組合,即可以形成一種性能全新的熔體泵擠出 系統。構建好這種擠出系統的基本思路在于:綜合單螺桿擠出機與熔體泵各自的優勢,取長補短,棄短揚長,進而使系統的整體性能更趨完美。讓該系統在保留傳統單螺桿擠出機所有功能的同時,又使系統的各項性能全面提高并顯著優于單純的單螺桿擠出機。其主要優異之處在于:
2.1 穩定熔體流量提高擠出制品的尺寸均一性
采用上述的SP系統來解決單螺桿擠出機的流量 波動問題,不失為一種較優的方案。在SP系統中,擠出成型所需的增壓和計量作用完全靠熔體泵實現,以充分利用泵的穩壓、穩流能力。SP系統對擠出機配置的硬件性能要求較低,適應的塑料品種廣泛,運轉操作容易。或者說,SP系統對引起擠出機流量波動的諸多因素的變化比較寬容,而穩定擠出流量的能力又強于單螺桿擠出機。這可由SP系統的穩壓實驗來證明。
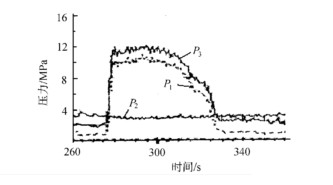
筆者在我所研制的SP32210機組上進行了相關的實驗。在螺桿頭部、泵的入口和泵的出口處各裝一熔體壓力傳感器(位置如圖1所示)并可自動記錄,以檢測熔體壓力的動態變化情況。用PE料擠出實驗。實驗中通過有意改變擠出機的螺桿轉速,引起泵入口側的壓力大幅變化。圖3的曲線是實驗中壓力變化的一個實例。當泵的入口側壓力P1約在10MPa的范圍內變化時,而出口側壓力P2的變化不超過0.5MPa,壓力波動的減弱比是20∶1。從圖3中還可以看出,P1的變化是由螺桿頭部壓力P3波動而引起,二者波動的趨勢相同。

SP機組與螺桿直徑和長徑比相同的常規單螺桿 擠出機相比,它的熔融塑化能力和產量都會提高。這主要有兩方面的原因。其一:在SP機組中,由于串聯了熔體泵,擠出機的螺桿在排料口就不再需要太多的加壓作用,一般只需提供3MPa~5MPa的壓力,來滿足為熔體泵入口供料即可。而常規擠出機的單螺桿為滿足成型工藝的要求,則需要具備35MPa左右的加壓能力。從單螺桿擠出機的生產率公式(2)看出,在不改變螺桿結構參數的情況下,僅降低螺桿長度方向上的 壓力降dP dL ,使逆流Qp和漏流QL減少,即可提高產量 Q。一般情況,使用現有的常規型單螺桿擠出機與熔體泵串聯,保守地估計,產量也會提高10%~15%。按粗略的估算法,機頭壓力每降低7MPa,產量就可提高5%~7%[6]。
SP機組產量提高的另一原因,也是主要原因,即由于SP機組使用的螺桿不再需要提供計量和很高的加壓作用,螺桿的結構設計原理可與常規螺桿明顯不同。其基本思路和主要特點是:盡可能提高螺桿的熔融塑化能力;將熔體輸送段減至常規計量段的1/2~1/3;加長熔融段,如增加分離型螺桿段的長度、增加剪 切、混合型元件的長度或段數;采用較小的壓縮比或增加熔體輸送段槽深;各段螺槽深度比常規螺桿深等等。具有以上特點的螺桿稱之為“SP型螺桿”或“無計量段型螺桿”。SP型螺桿主要因其自身的熔融塑化能力增強而使SP系統的產量提高。SP型螺桿只有與熔體泵串聯使用才能顯示出較高的效益。
我所研制的SP32210機組,既配置了SP型螺桿,也配置了常規螺桿。筆者對該機組的產能情況進行了三種情況的比較實驗:a.使用普通螺桿不加熔體泵,b.使用普通螺桿串聯熔體泵,c.使用SP型螺桿串聯熔體泵。用相同的PE料,相同的工藝溫度和同一口模擠出。實驗中將螺桿轉速作為主變量,從低到高改變轉速。在b、c實驗中,增加螺桿轉速時,通過調整熔體泵的轉速,將螺桿頭部壓力降至3MPa左右,來平衡螺桿擠出的流量。圖4是由上述實驗中得出的擠出流量與螺桿轉速的關系曲線。由曲線的趨勢可以看出:擠出流量隨螺桿轉速的增加而增加;在相同轉速下,流量呈c>b>a;b與a相比,在螺桿轉速為60~70r/min時,(實驗記錄b的螺桿頭部壓力約3MPa,a的螺桿頭部壓力約10MPa),產量增加達10%;c與a相比,螺桿轉速高于60r/min時,產量增加大于30%。

◆—未加熔體泵普通螺桿 ■—加裝熔體泵普通螺桿 ▲—加裝熔體泵 SP型螺桿
圖4 擠出流量與螺桿轉速曲線圖
Fig.4 Relationofthroughputandscrewspeed
2.3 優異的排氣擠出性能
在ABS、PA、PC、PMMA、PET這類工程塑料的擠 出成型中,需要具有排氣功能的擠出機將料中的水分、單體或低聚物等成分排除。單螺桿排氣擠出機因設備相對簡單,費用較低而常被采用。使用中,由于面對的塑料品種繁多,性能各異,使用不同形狀、尺寸的擠出模具阻力不一,當調整擠出溫度、壓力、轉速這些工藝參數時,經常會出現排氣口冒料現象,致使擠出機無法在理想的操作條件下運行。而且,與不排氣的單螺桿擠出機相比,排氣單螺桿擠出機的產量波動問題更顯突出。所以一般來說,常規的排氣單螺桿擠出機使用性能較差,效能較低。
將排氣單螺桿與熔體泵串聯[7],組成具有排氣功能的SP機組,可以徹底解決排氣口冒料問題,擠出穩定性顯著提高。這是因為,單螺桿與熔體泵都各自配有獨立的傳動系統,兩者的轉速和流量隨時可被調至佳匹配狀態。若排氣口可能出現溢料,則可以通過降低螺桿轉速或增加熔體泵轉速來消除。串聯在擠出機排料口的熔體泵就相當于一個壓力調節閥,通過調節泵的轉速,來實現螺桿頭部或泵入口處的變壓作用,使排氣口上下游的流量達到平衡而防止冒料。因此,當使用不同的樹脂或模具擠出時,可隨意調整擠出工藝參數,讓設備處于理想運行狀態。為了使具有排氣功能的SP機組性能更好,排氣單螺桿的結構,也有一個按照SP型螺桿的設計原則加以改進更新的問題。我所研制的SP32210機組及所配置的SP型螺桿,也具有排氣功能。從擠出工程塑料的實際運轉使用效果來看,它的各方面性能要比常規的排氣單螺桿擠出機優異的多。使用這種系統,可以取代一般工程塑料的預烘干擠出工藝。以擠出PMMA光纖樣品為例。PM2MA因其吸濕性,一般擠出前需預烘干4~6h。塑料光纖的傳光性能,對光纖擠出過程中的熔融塑化質量要求極高,對光纖制品內的微小氣泡含量限制極嚴。用SP32210機組不經預烘干工藝直接擠出PMMA光纖,得到的光纖樣品除各項擠出質量合格外,經顯微照片顯示,其微小氣泡含量少于經預烘干6h的光纖。
2.4 SP系統的其它性能與應用
(1)利用SP系統擠出流量波動小、擠出產品尺寸精準的特點,可以通過降低擠出制品的質量公差或尺寸公差來減少材料消耗,從節材降耗中獲取效益。擠出量精準控制,對原料成本昂貴的產品更顯必要。例如,在復合共擠出中使用昂貴的粘合劑或阻透劑等場合。
(2)可以使用回用料含量高的擠出制品。在熱成 型生產板材、片材的擠出中,常需要消化大量的邊角料 即回用料。經破碎后的回用料顆粒尺寸不規則而引發擠出量波動,這終會導致擠出制品的厚度公差變大或較高的廢品率。采用SP機組可以有效地解決這類問題。可以使用回用料含量高達50%或更高比例的原料擠出高質量的產品。
(3)延長擠出機的工作壽命。SP系統中配置的擠出機在很低的背壓下運行(一般為5MPa左右),使得螺桿承受的軸向力和扭矩大幅下降,從而有效降低了螺桿、機筒和傳動裝置的磨損。擠出機的使用壽命延長使生產設備的運行成本進一步降低。
鄭州巴特熔體泵有限公司
主營產品:計量泵、齒輪泵、熔體泵、高溫熔體泵、
熔體齒輪泵、熔體計量泵、化學泵、化工泵。
主要聯系方式:
國內銷售部:0371-67993077 67993177
國外銷售部:0371-61682066 61682088